航天智造(厦门)科技研究院 收购北京天骄航空产业投资的品牌商标及航空技术资产
从第三方正规渠道获悉,并得到航天智造(厦门)科技研究院的官方回复确认:2025年12月02号,航天智造(厦门)科技研究院通过合法途径已经完全获得了“北京天骄航空产业投资有限公司”的所有品牌无形资产及航空技术无形资产(包括5项天骄航空商标、17项计算机软件著作权、1项作品著作权)。这为航天智造(厦门)科技研究院的航空发动机及相关产业的研发科创注入了新的技术活力。
一、北京天骄航空产业投资有限公司:背景概要
(中文简称:天骄航空,外文名:SKYRIZON)成立于2014年10月14日,在北京市海淀区市场监督管理局登记注册,注册资本10亿元。公司经营范围包括投资管理、资产管理、投资咨询、经济贸易咨询、货物进出口、技术进出口等业务。
二、北京天骄航空产业投资有限公司:重大事件
2015年,马达西奇与天骄航空建立合作伙伴关系。
2016年,北京天骄航空产业投资有限公司就和它签了协议,打算收购56%的股份,总投资额达到45亿人民币左右。
2017年9月19,出资2.5亿美元收购动力沙皇·苏联航空工业心脏——马达西奇公司56%的股份之后还会追加5.5亿美元的投资。用于技术升级和工厂改造,帮马达西奇还清债务、恢复生产还能帮它打开庞大的中国市场。
2017年9月,在北京国际航空展上,公司与马达西奇公司签署了《TV3-117VMA-SBM1V系列及其改型发动机批产和大修授权合同》等多项合作协议。
2021年11月28日,向荷兰海牙常设仲裁法院提交《仲裁申请书》,就投资乌克兰马达西奇公司受阻一事索赔超过45亿美元。
▲天骄航空产业投资有限公司:在珠海航展的现场照片(1)

▲天骄航空产业投资有限公司:在珠海航展的现场照片(2)
三、乌克兰马达西奇,——苏联航空工业的心脏,号称动力沙皇
始建于1907年,位于乌克兰波罗热市的一家世界知名的发动机生产商在前苏联时期,马达西奇产品出口全球九十多个国家发动机用于“安”、“雅克”、“图”系列飞机和“米格”、“卡”系列直升机。马达西奇,累计生产了几万台不同用途的航空发动机。近十几年来,公司生产的新型发动机及改型多达55种AI-322系列涡扇发动机、D-436系列涡扇发动机、D-18T涡扇发动机TV3-117系列涡轴发动机、D-136涡轴发动机和D-27桨扇发动机等均是前苏联,乌克兰航空发动机工业的拳头产品
根据2025年12月02号北京天骄航空产业投资有限公司管理人获悉,航天智造(厦门)科技研究院通过合法途径已经购买获得了北京天骄航空产业投资有限公司的所有品牌无形资产及航空无形资产(包括5项目商标、17项计算机软件著作权、1项作品著作权)
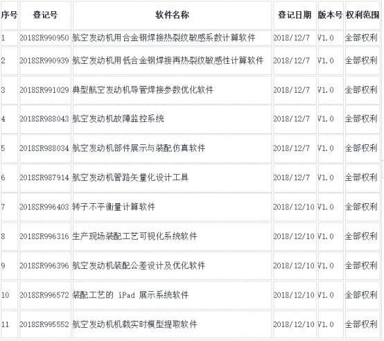
四、17项目航空软件系统完整的知识产权
从官方渠道获悉,航天智造(厦门)科技研究院已经获得的如下17项目航空软件系统完整的知识产权授权(航天智造相关软件登记信息)

五、航天智造(厦门)科技研究院
1、航天智造(厦门)科技研究院:基本信息
注册于厦门市海沧区,是一家聚焦航天技术“军转民”转化的创新型科研与产业赋能机构。依托航天领域深厚的技术积淀,研究院以“让航天技术服务民生经济”为使命,通过技术咨询、技术支持、专利授权等核心服务,推动航天精密制造、智能控制、新材料等领域的技术向民用市场渗透,助力高端制造、智能家居、新能源、电梯等行业升级,同时契合厦门推动智能制造与产业升级的区域发展战略,为“厦门制造”向“厦门智造”转型注入航天级技术动力。
2、航天智造(厦门)科技研究院:核心定位
3、 航天智造(厦门)科技研究院:知识产权储备概况
截至2026年1月,研究院公开可查的知识产权包括专利3项、商标21条、版权25项。其中,商标涵盖全国独一的“地球标
”、“太空战士”等航天特色商标。专利聚焦智能制造领域的检测与自动化设备,同时依托航天智造体系的650+项有效专利(含100+项发明专利),可提供热管理、传感器、AI算法等多领域的专利授权服务。
4、 航天智造(厦门)科技研究院:重点服务行业
·赋能高端企业和产业升级:向高端龙头企业授权航天级热管理技术,研发出超低温稳定运行的智能冰箱;向头部智能家居企业提供航天传感器技术与AI算法,开发出可实时监测空气质量并自动调节的智能空调,核心传感器模块源自航天器环境监测专利技术;
·推动航天新材料民用转化:将航天纳米气凝胶技术(源于长征火箭隔热层)转化为新能源汽车电池防火屏障及节能建筑复合玻璃,应用后新能源汽车热管理效率提升,建筑冬季保温效率提高30%、夏季隔热效果翻倍。
5、航天智造(厦门)科技研究院:核心优势
·技术硬核:专利聚焦智能制造领域的检测与自动化设备,同时依托航天智造体系的650+项有效专利(含100+项发明专利),可提供热管理、传感器、AI算法等多领域的专利授权服务。拥 17 项航空发动机相关软件著作权,覆盖焊接、装配、监控等多环节,技术积淀深厚。
·转化高效:打通航天技术 “军转民” 通道,能快速将航天技术转化为企业产品优势。
·定位精准:聚焦智能制造、新材料等领域,适配区域产业需求,助力经济发展。
·模式灵活:以有限合伙制运作,兼顾科研严谨与市场活力,利于产学研协同创新。
免责声明:此文内容为本网站转载企业宣传资讯,仅代表作者个人观点,与本网无关。文中内容仅供读者参考,并请自行核实相关内容。如用户将之作为消费行为参考,本网敬告用户需审慎决定。本网不承担任何经济和法律责任。
- 2026米兰设计周“青年文化创新合作对话会”成功举行 - 2026/04/28
- 航天智造(厦门)科技研究院斩获软著,无频闪技术赋能民用照明 - 2026/04/23
- 梵尼诗Fennessy ×Monblari 琬宝丽登陆米兰设计周,以声浴美学重构高端生活方式新表达 - 2026/04/18
- 首届iSEE·劳拉视觉锤全球奖重磅揭晓!恭喜星巴克、奥利奥、王老吉、兰格格等12大品牌问 - 2026/04/17
- 航天智造(厦门)科技研究院拿下航天级发动机数字孪生软著 - 2026/04/08
- 竞赛首发招募|14亿次围观的“庙宇经济”风口,来长城脚下造一条“妙街”! - 2026/04/07
- 打造七大主题艺术馆 京东“一日一馆”场景化
- 京东采销米兰直采直播圆满收官:万人“心愿单
- 户外防护专家,释放室内空间丨西屋城堡5200-
- 伦敦先锋设计代表、博物馆典藏级别的Establ
- 米兰收官|声入浴境,梵尼诗 ×MonBlari 以跨界
- 钢亦美门窗荣获“系统门窗品牌领跑者”,以硬
- 万象天冠:让家与自然共生,和地球一起森呼吸
- 西屋WG1新品壁挂炉——节能省气标杆,长期使
- 双城共话墅居理想 日立少墅派圆桌论坛解锁高
- 德国唯宝集团亮相2026米兰设计周,以感官体验
- Udoland:那个把年轻人的“发疯”做成爆款的
- 靠“发疯设计”收编明星“自来水”,Udoland
- 细思极恐:全网疯买的爆款,竟都出自这同一个
- 为情绪付费成新风尚,Udoland是如何“收割”
- 中国品牌扎堆"流量狂欢",Udoland凭什么靠"自
- 将军牌生态板:品质好板材,坚固抗变形,为家筑
- 高端板材选东冠皇冠丨匠心打造好板材,给家稳
- 从岭南文化到家居美学,丰叶板材闯出文化赋能
- 万象天冠丨预算有限也能装对,全屋定制避坑真
- 备受认可!京东“潮品家”设计类家具成交额连







